

QJ系列深井泵介绍
深井泵是引进国外泵业公司的制泵技术生产的高性能耐磨型电泵,动力部份配用目前国际技术生产的水浸式不锈钢潜水电机,对水质无污染,是当前国内外深井泵之精品。选用优质不锈钢外壳、轴芯、联轴器、入水座和泵头(或铜合金入水座、泵头),高强度抗耐磨新型复合高分子材料叶轮和不锈钢导流壳,全新"浮动式"结构叶轮在工作期间对电机无轴向压力。特别适用于工矿业、农业、建筑业、养殖业、食品饮料业及家庭式(或高层送水使用)。
QJ系列深井泵产品特点
1、深井潜水泵电机、水泵一体,潜入水中运行,安全可靠。
2、深井泵对井管、扬水管无特殊要求(即:钢管井、灰管井、土井等均可使用;在压力许可下、钢管、胶管、塑料管等均可作扬水管使用)。
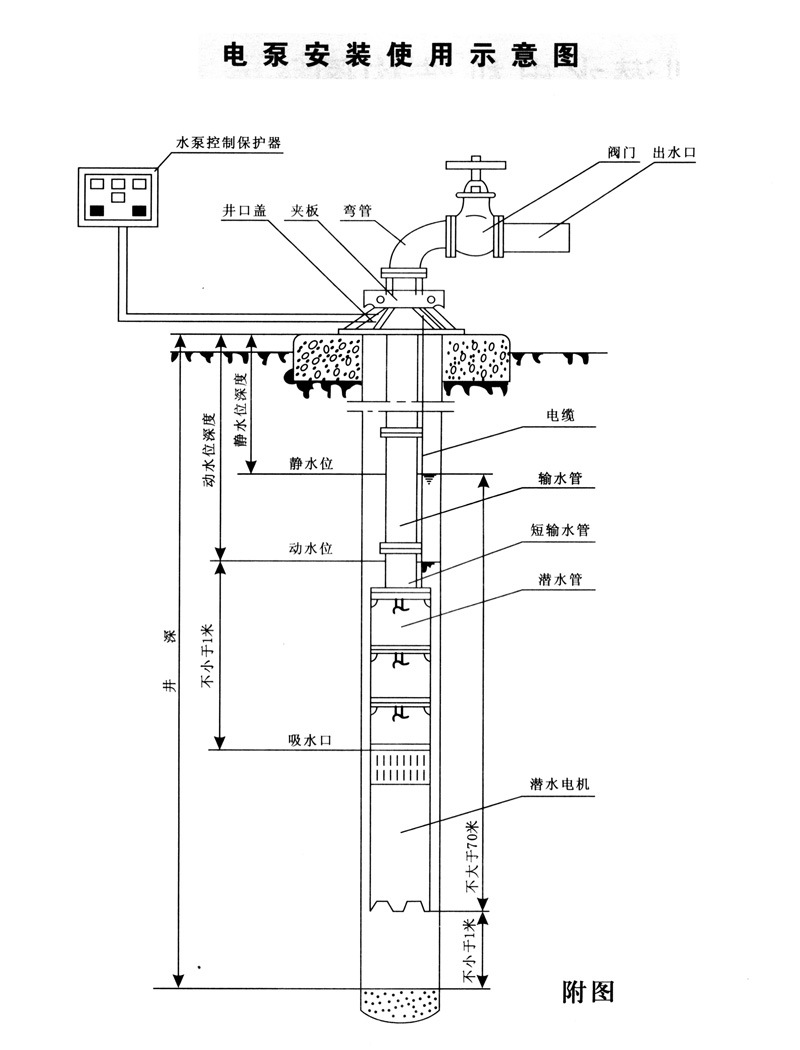
3、深井泵安装、使用、维护方便简单,占地面积小、不需建造泵房。
4、深井泵结构简单、节省原材料。
深井泵使用的条件是否合适,管理得当与使用寿命有直接的关系。
 
 


 
 
 


 
 
 
 

 
 
 
 











 19228131880微信
19228131880微信